OBS!
Viktig information gällande användningsområde för DPF
DPF är ursprungligen utvecklad för röjning av mindre, smalare vägar i fjällterräng och för körning utan sidovinge. Om DPF används med sidoplog, finns risk att den ”tappar” snö mellan vingen och plogen och med det uppstår en snösträng som lämnas efter plogningen.
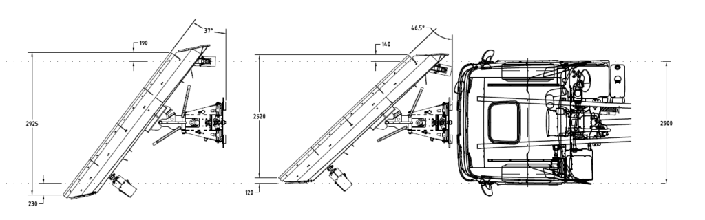
Orsaken är att vridcentrum på DPF inte sitter i centrum på ploglådan och vid maximal vridning till höger (46,5º) röjer plogen exakt bilens bredd, medans vrider man upp till 37° blir måttet 2995 mm. Se principskiss.
DPF
För de riktigt höga höjderna
DPF, även kallad ”Fjällplogen” är en vidareutveckling av DPH högkastande diagonalplog. Med en liknande konstruktion men med en ytterligare förhöjning från 1880 till 2100 mm samt en unik utformning av utkastet ger DPF prestanda för de mest extrema miljöerna.
Likt sin förebild gör den unika konstruktionen att snön accelererar ut ur plogen i hög hastighet. Snön kastas högt & långt från vägbanan. Plogen bygger därmed en minimal plogkant, vilket är vanligt förekommande fenomen vid användning av konventionella plogar. Redan vid låga hastigheter, levererar plogen mycket tillfredsställande.
Unik säkerhet
DPF är likt andra Mählersprodukter byggd med tanke att vara så trafiksäker som möjligt för omgivningen, plogbilsföraren och fordonet. DPF har därför ett fjädrande & utlösande system i plogens bottendel. De individuellt utlösande skärhållarna i polyuretan gör att skären följer vägens ojämnheter, ger en tystare gång, förebygger skador på plog och fordon, förhindrar riktningsändring vid påkörning av uppstickande hinder eller om plogen skär ned i vägbanan.
Utöver detta har parallellogramets vridcylindrar inbyggda chockventiler som löser ut vid ev. påkörning av ett hinder. Höger sida av plogen är beklädd med en glidplast som skonar exempelvis vägräcken.
Positionsljus och reflexer är standard. Det är möjligt att beställa plogen med reflexer som överensstämmer med respektive marknads bestämmelser.
Sammantaget gör alla dessa säkerhetsdetaljer DPF till en av marknadens säkraste högkastande plogar.
Fördelar
- Hög kasthöjd redan vid låga hastigheter
- Maximal säkerhet med fjädrande/utlösande skärhållare minimerar olycksrisk med person och sakskador
- Ytterligare säkerhet med chockventiler på parallellogramets vridcylindrar reducerar skador vid påkörning av hinder
- Kraftig konstruktion för krävande miljöer
- Slitplast på höger sida för att skona vägräcken
- Invändig skärm som förhindrar att kall rykande snö åker över plogen
- Byggd för krävande fjällmiljö
- Flexibla polyuretanskärhållare följer vägbanan och ger lugn och tyst gång
Standardutrustning
- DPF levereras med slitsko och slitmede
- Hårdmetallskär
- Polyuretanskärhållare
- Svensk standard VV-95 alt. koppling till Mählers radarfäste
- Hydraulisk anslutning: 4 st TEMA-5011
- Kantskydd
Övrig utrustning (tillval):
- Hjulställ
- Sidoförskjutning 160 mm till vänster
- Övrig infästning enligt resp. standard för bl.a. Norge, Finland och Tyskland
Teknisk information
| Typ | DPF3400 | DPF3700 |
|---|---|---|
| Arbetsbredd (mm): | 3 400 | 3 700 |
| Arbetsbredd 30° (mm): | 2 960 | 3 200 |
| Arbetsbredd 40° (mm): | 2 620 | 2 830 |
| Min transportbredd 46,5° (mm) | 2 600: | 2 855 |
| Höjd höger (mm): | 1 980 | 2 100 |
| Höjd vänster (mm): | 890 | 890 |
| Vridning (°): | Vänster ±29 Höger ±46,5: | Vänster ±29 Höger ±46,5 |
| Skärvinkel (°): | Polyuretan 40 | Polyuretan 40 |
| Slitstål (st): | 4 | 4 |
| Slitstål längd (mm): | 2 x 915 + 2 x 792 | 915 |
| Vikt inkl. fäste (kg) | 1 440 | 1 590 |